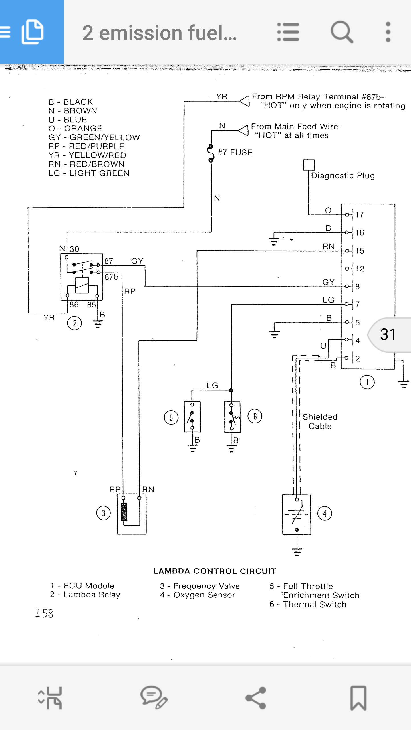
If shorting the oxygen sensor input wire to earth does nothing to the dwell reading, then the fuel computer sounds like it is bad.
First though, double check that you do have an earth at both pins 5 and pin 16 (they both need to be earthed! )
If that doesn't change, try taking a dwell reading from the red/brown cable from pin 15.
Tip, you can disconnect the multi plug from the fuel by pullingback on a metallic tab andthen lift up the mulri plug. The plug is hinged at the right when looking down on the plug. Then, unscrew the screw at the end of the long thin black multi plug on the wiring loom. You can then slide the cover off that will then expose the wires. You can then plug the socket back in to the ecu and then do tests direct at the ecu.
Listen and check if the frequency valve is buzzing too. If it isn't then you might be trying to read a value but you'll just have an incorrect type of relay in the lambda relay. With the engine running you should have 12v at the green/ yellow wire at the ecu AND also 12v at the red/purple wire at the frequency valve. If you don't then that'll be your problem.
As a note, with the engine cold (lambda switch closed) OR the full load throttle switch closed, the dwell reading should be about 54 degrees and this over rides what the oxygen sensor input is.
Good luck

